Snec actionat hidraulic
 

 

HCS - Snec actionat hidraulic

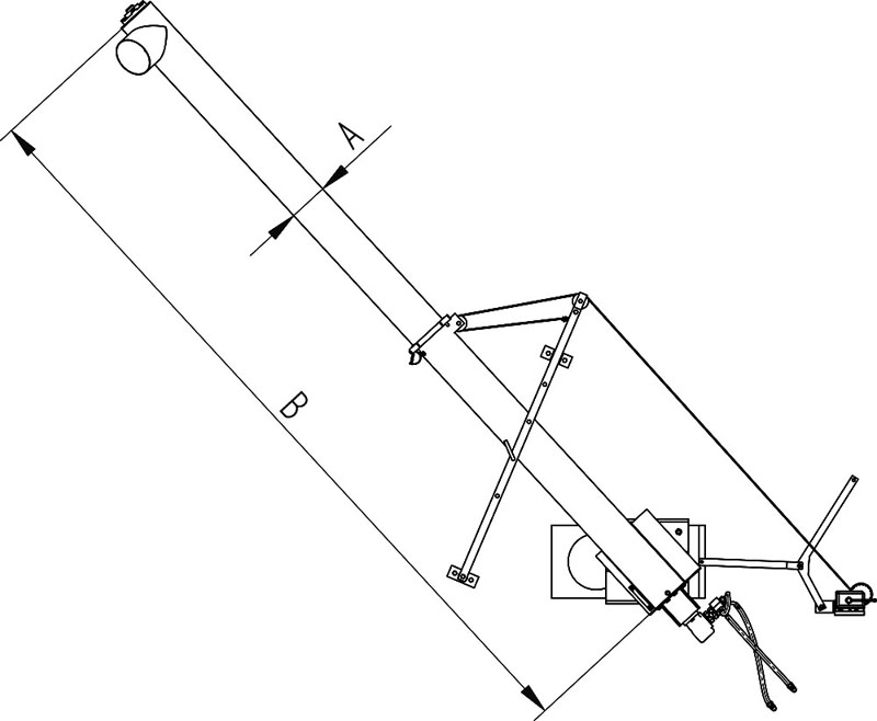
Snecul Agritech HCS se poate monta pe remorci agricole, sunt galvanizate sau din inox. Inaltimea de descarcare se asigura cu ajutorul unui troliu actionat manual.
Snecul se monteaza la usa de descarcare a remorcii, actionarea este hidraulica de la motor. Este ideala pentru incarcarea diverselor tipuri de cereale, ingrasaminte chimice si a diferitelor produse granulate.

Marimi
Capacitati To/h
A (mm)
B (m)
(to/h)
Ø200
4
35
Datele din tabel au caracter orientativ

 

 

 

 



Copyright © 2013 AGRITECH SLOVAKIA - Created by 2FISH